다파장 레이저 파장 변조를 이용한 현미경 시스템

페이지 정보

profile_image
작성자 GTM 댓글 0건 조회 67회 작성일 25.08.04

본문

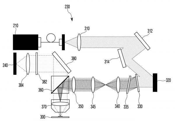
다파장 레이저 파장 변조를 이용한 현미경 시스템을 개시한다.
본 실시예의 일 측면에 의하면, 복수의 파장의 레이저를 조사하는 광원부와 상기 광원부로부터 조사된 레이저를 인가받아 서로 다른 위상값을 갖는 패턴을 생성하고, 생성된 패턴을 파장에 따라 이격시켜 샘플로 조사하는 광학계와 상기 광학계를 거쳐 샘플로부터 반사된 광을 수광하는 수광부와 상기 광원부, 광학계 및 수광부의 동작을 제어하며, 상기 수광부가 수광한 광의 간섭 패턴을 분석하여 샘플의 성질을 분석하는 제어부를 포함하는 것을 특징으로 하는 현미경 시스템을 제공한다.

[이 게시물은 GTM님에 의해 2026-03-09 11:23:37 소액특허나눔에서 이동 됨]

댓글목록

등록된 댓글이 없습니다.