Total 50건 1 페이지

    소액특허나눔_종료 목록

  • 연속 파장 레이저 파장 변조를 이용한 현미경 시스템

    연속 파장 레이저 파장 변조를 이용한 현미경 시스템을 개시한다. 본 실시예의 일 측면에 의하면, 기 설정된 파장대역 내에서 하나의 파장을 갖는 레이저를 조사하는 광원부와 상기 광원부로부터 조사된 레이저를 인가받아 서로 다른 위상값을 갖는 패턴을 생성하고, 생성된 패턴을 파장에 따라 이격시켜 샘플로 조사하는 광학계와 상기 광학계를 거쳐 샘플로부터 반사된 광을 수광하는 수광부와 상기 광원부, 광학계 및 수광부의 동작을 제어하며, 상기 수광부가 수…

    GTM 77 08-04
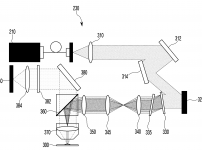
  • 다파장 레이저 파장 변조를 이용한 현미경 시스템

    다파장 레이저 파장 변조를 이용한 현미경 시스템을 개시한다. 본 실시예의 일 측면에 의하면, 복수의 파장의 레이저를 조사하는 광원부와 상기 광원부로부터 조사된 레이저를 인가받아 서로 다른 위상값을 갖는 패턴을 생성하고, 생성된 패턴을 파장에 따라 이격시켜 샘플로 조사하는 광학계와 상기 광학계를 거쳐 샘플로부터 반사된 광을 수광하는 수광부와 상기 광원부, 광학계 및 수광부의 동작을 제어하며, 상기 수광부가 수광한 광의 간섭 패턴을 분석하여 샘플…

    GTM 67 08-04
  • 카메라 포즈 추정 방법

    카메라 포즈 추정 방법이 개시된다. 본 발명에 따른 카메라 추정 방법은, 원본 이미지로터 텍스쳐를 다양하게 변경한 복수의 훈련 이미지를 이용하여 시각적 측위 네트워크를 트레이닝하는 단계, 쿼리 이미지를 획득하는 단계, 및, 상기 쿼리 이미지를 상기 시각적 측위 네트워크에 제공하여 카메라의 포즈를 추정하는 단계를 포함한다. [이 게시물은 GTM님에 의해 2026-03-09 11:23:37 소액특허나눔에서 이동 됨]

    GTM 73 08-04
  • 네트워크 상의 허니팟 노드 배치방법

    본 발명에 따른 네트워크 상의 허니팟 노드 배치방법에는, 네트워크에 포함되는 부모노드와 자식노드의 연결상태를 반영하여, 상기 부모노드를 통한 상기 자식노드의 공격이 성공할 연결공격성공확률을 획득하는 것; 상기 연결공격성공확률을 정보로써, 베이지안 공격 그래프 상에서 제 1 추론 알고리즘을 이용하여, 각 노드를 타겟으로 하는 공격이 성공할 타겟공격성공확률을 획득하는 것; 및 상기 타겟공격성공확률이 큰 노드를 취약노드로 설정하여 허니팟 노드를 배치…

    GTM 61 08-04
  • 무선 소프트웨어 정의 네트워크의 제어평면보호방법

    본 발명에 따른 무선 소프트웨어 정의 네트워크의 제어평면보호방법에는, 무선 인밴드 에스디엔에 놓이는 링크의 드랍률 정보를 수집하는 것; 수집된 정보 중에서 제어평면 패킷 드랍률을 평가하여, 어느 링크의 상기 제어평면 패킷 드랍률이 높으면, 상기 어느 링크와 관련되는 노드의 데이터평면 트래픽을 감소시키고, 어느 링크의 상기 제어평면 패킷 드랍률이 낮으면, 상기 어느 링크와 관련되는 노드의 데이트평면 트래픽을 증가시키는 것이 포함된다. [이 게시…

    GTM 63 08-04
  • 암 살해세포의 살해능을 증가시키는 암 치료용 재조합 단백질 및 이의 용도

    본 발명은 암 살해세포의 살해능을 증가시키는 치료용 재조합 단백질 또는 재조합 단백질이 탑재된 암 살해세포에 관한 것이다. 또한, 상기 재조합 단백질 또는 재조합 단백질이 탑재된 암 살해세포를 포함하는 약학적 조성물에 관한 것이다. 더 나아가, 재조합 단백질이 탑재된 암 살해세포의 제조방법에 관한 것이다. [이 게시물은 GTM님에 의해 2026-03-09 11:23:26 소액특허나눔에서 이동 됨]

    GTM 57 08-04
  • [나눔완료] 고출력 레이저 장치

    본 발명은 통상의 공진기와 다중반사 거울의 조합으로 이루어진 공진기를 사용하여 펄스 에너지를 증가시킨 고출력 레이저 장치에 대한 것이다. 본 발명은, 펌프 빔을 1차적으로 공진시키는 제 1 공진기; 및 제 1 통공이 형성된 제 1 다중반사 거울과 제 2 통공이 형성된 제 2 다중반사 거울을 구비하여 상기 제 1 공진기에서 출력된 레이저 빔을 공진시키는 제 2 공진기를 포함하는 레이저 장치를 제공한다. [이 게시물은 GTM님에 의해 2026-…

    GTM 60 08-04
  • 차선 변경 안내 방법 및 이를 실행하는 장치

    본 발명의 일 실시예에 따른 차선 변경 안내 방법은 기 설정된 거리만큼 이동하면서 이동 대상 차선의 후방 차량을 촬영하는 이동 카메라로부터 복수의 이미지들을 수신하는 단계, 상기 복수의 이미지들 각각을 이용하여 이동 카메라의 위치와 후방 차량 사이의 각도를 각각 산출하는 단계, 상기 산출한 각각의 각도를 이용하여 충돌 가능 정보를 산출하는 단계 및 상기 충돌 가능 정보를 이용하여 후방 차량과의 충돌 가능성을 예측하고, 충돌 가능성에 따라 충돌 …

    GTM 55 08-04
  • 분기형 스텐트

    본 발명의 일 실시 예에 따른 협착된 혈관에 설치되는 스텐트는 다수의 파형 와이어가 메쉬 형태로 형성되는 원통형상의 스텐트 바디, 상기 스텐트 바디에서 연장되고 분리선을 경계로 분리된 반원통 형상의 스텐트 브랜치로 구성된 갈래부 및 상기 스텐트 바디와 갈래부가 만나는 부분에 형성되는 분기부를 포함하고, 상기 갈래부는 분리된 혈관에 각각 삽입 및 장착되는 제1 브랜치와 제2 브랜치를 포함하고, 상기 분기부는 제1 조건에서 변형을 일으켜 상기 제1…

    GTM 57 08-04
  • [나눔완료] 딥러닝을 이용한 타겟 객체의 매력도 분석 방법 및 장치

    본 발명은 딥러닝을 이용한 대상 객체의 매력도 분석 방법 및 장치에 관한 것이다. 본 발명의 일 실시예에 따른 딥러닝을 이용한 대상 객체의 매력도 분석 방법은 (a) 대상 객체와 적어도 하나의 평가 객체가 포함된 입력 이미지를 획득하는 단계; (b) 상기 대상 객체에 대한 상기 적어도 하나의 평가 객체 각각의 시선 위치를 식별하는 단계; (c) 상기 시선 위치가 상기 대상 객체의 관심 영역에 포함되는 경우, 상기 적어도 하나의 평가 객체의 시선…

    GTM 59 08-04
  • 경광봉 인식 시스템 및 이를 이용한 경광봉 인식 방법

    본 발명은 경광봉 인식 시스템 및 이를 이용한 경광봉 인식 방법에 관한 것으로서, 상기 경광봉 인식 시스템은 소정의 범위를 촬영하는 카메라로부터 촬영 영상을 획득하는 영상 획득부와, 상기 영상 획득부에서 제공받은 촬영 영상에서, 신호를 표시하기 위해 사용자가 조작하는 경광봉을 검출하는 검출모듈과, 상기 검출모듈에서 제공되는 검출 정보를 토대로 상기 촬영영상에 포함된 경광봉에 대응되는 신호를 분석하는 분석모듈을 구비한다. 본 발명에 따른 경광봉…

    GTM 57 08-04
  • 스텐트 및 스텐트의 제조방법

    본 발명에 따른 스텐트에는, 말려서 관 형상을 유지하는 몸통부; 상기 몸통부의 일단에 제공되는 제 1 걸림부; 및 상기 몸통부의 타단에 제공되고 상기 제 1 걸림부가 걸려서 지지되는 제 2 걸림부가 포함된다. 본 발명에 따르면, 4D 프린팅 공법에 의해서 스텐트를 제조할 수 있다. 이에 따라서, 자동화된 공정으로 저렴하고, 신속하고, 간단하고 장소의 제약이 없이 스텐트를 제조할 수 있다. [이 게시물은 GTM님에 의해 2026-03-09 11…

    GTM 54 08-04
  • [나눔완료] 용접 전극 상태 모니터링 방법

    본 개시는 용접 전극 모니터링 방법에 있어서, 동저항을 측정하여 1차원 동저항 파형데이터를 획득하는 단계, 2차원 이미지 생성 알고리즘을 이용하여 상기 1차원 동저항 파형데이터에 기초한 2차원 동저항 파형 데이터를 획득하는 단계, 상기 2차원 동저항 파형을 인공 지능 모델에 입력하여 동저항 특성인자 벡터 값을 획득하는 단계, 상기 동저항 특성인자 벡터 값과 정상 특성인자 벡터 값 거리에 기초한 결함지표를 획득하는 단계; 및 상기 결함지표를 이용…

    GTM 53 08-04
  • RF 기반 다중 무인 비행체의 측위 및 궤적 제어 장치 및 그 시스템

    본 발명의 무인 비행체에 탑재는 위치 추정 장치에 관한 것이다. 구체적으로 본 발명의 일 실시 예에 따른 위치 추정 장치는, RF 신호를 방출하는 최소 4개의 앵커노드들과 RF 통신을 수행하는 RF 통신부, GPS 위성 항법 정보를 수신하는 GPS 수신부, 가속도 및 각속도 정보를 획득하는 IMU 센서부 및 상기 RF 통신부가 수행한 RF 통신에 기반하여 복수의 앵커노드들과의 거리 정보를 획득하여 상기 무인 이동체의 위치 정보를 추정하고, 추정…

    GTM 64 08-04
  • 배터리 냉각 시스템

    배터리 냉각 시스템이 개시된다. 본 발명의 실시 예에 따른 배터리 냉각 시스템은, 전해질을 포함하는 배터리, 슈퍼 캐패시터, 열을 방출하는 열 저장조, 상기 배터리와 상기 슈퍼 캐패시터 간의 상기 전해질의 이동 통로를 제공하는 제1 순환 라인, 상기 슈퍼 캐패시터와 상기 열 저장조 간의 상기 전해질의 이동 통로를 제공하는 제2 순환 라인, 및, 상기 배터리와 상기 슈퍼 캐패시터 간에 상기 전해질이 순환하도록 제어하고, 상기 슈퍼 캐패시터와 상기…

    GTM 62 08-04

검색