친환경 소재가 코팅된 스마트부이
페이지 정보

본문
친환경 소재를 포함하는 코팅제가 코팅된 스마트부이를 개시한다.
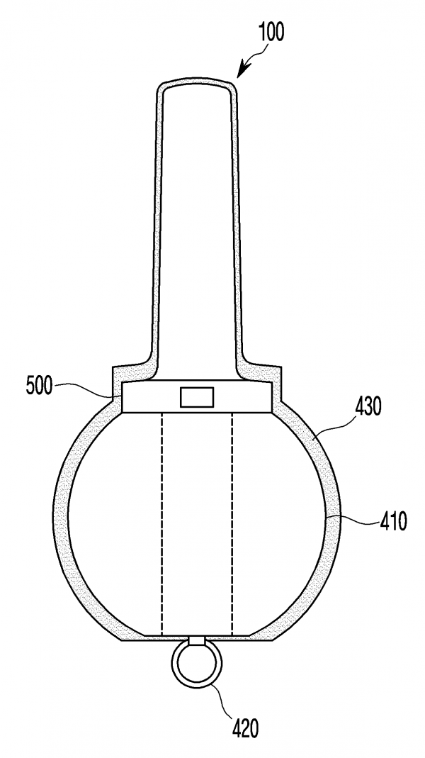
본 실시예의 일 측면에 의하면, 어구유실 여부를 감지하는 스마트부이 및
상기 스마트부이 외부 표면에 코팅되어 해양 생물 부착을 방지하는 코팅제를 포함하며 상기 코팅제는 에폭시 수지 100중량부에 대하여 실리카 수지 100중량부, 분산제 0.09~0.05중량부, 소포제 6.8~10중량부, 충진제 13.5~32중량부, 점도조절제 4.5~8중량부, 방청제 10~16중량부, 아크릴 수지 52~55중량부, 광 안정제 4.5~8중량부, 경화제 10~100중량부 및 대나무 추출액 1~10중량부를 포함하는 조성물인 것을 특징으로 한다.
[이 게시물은 GTM님에 의해 2026-03-09 11:23:03 소액특허나눔에서 이동 됨]
본 실시예의 일 측면에 의하면, 어구유실 여부를 감지하는 스마트부이 및
상기 스마트부이 외부 표면에 코팅되어 해양 생물 부착을 방지하는 코팅제를 포함하며 상기 코팅제는 에폭시 수지 100중량부에 대하여 실리카 수지 100중량부, 분산제 0.09~0.05중량부, 소포제 6.8~10중량부, 충진제 13.5~32중량부, 점도조절제 4.5~8중량부, 방청제 10~16중량부, 아크릴 수지 52~55중량부, 광 안정제 4.5~8중량부, 경화제 10~100중량부 및 대나무 추출액 1~10중량부를 포함하는 조성물인 것을 특징으로 한다.
[이 게시물은 GTM님에 의해 2026-03-09 11:23:03 소액특허나눔에서 이동 됨]
관련링크
댓글목록
등록된 댓글이 없습니다.

