라이다 장비의 광학계
페이지 정보

본문
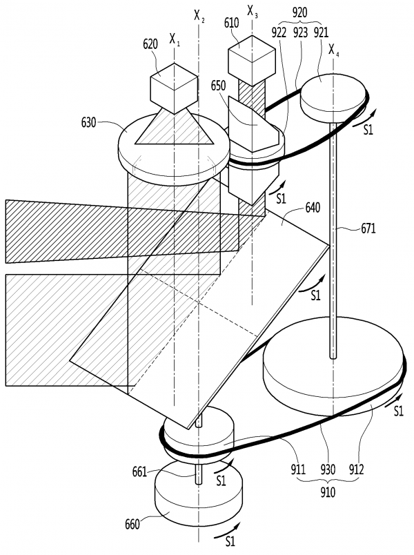
레이저 광을 송신 및 수신 받는 라이다 장치에 포함되는 광학계로서, 라이다 장비의 광학계가 개시된다. 본 발명의 실시 예에 따른 라이다 장비의 광학계는, 회전축에 대해 소정의 각도로 기울어진 상태로 지지되며 도달하는 레이저 광을 일정 각도로 반사시키는 미러스캐너, 상기 미러스캐너의 상부에 배치되어, 상기 미러스캐너의 표면으로 평면 확산 레이저 광을 조사하는 송신부, 상기 송신부와 상기 미러 사이에 배치되고, 상기 평면 확산 레이저 광을 회전시켜 통과시키는 프리즘, 및, 상기 미러스캐너 상부에 배치되어, 측정대상으로부터 반사 또는 산란되어 돌아오는 레이저 광을 상기 미러스캐너의 반사를 통해 수광하는 수신부를 포함하고, 상기 미러는, 상기 회전축을 중심으로 회전하며 상기 프리즘을 통과한 상기 평면 확산 레이저 광을 상기 측정 대상을 향하여 반사시키고, 상기 반사된 평면 확산 레이저 광의 확산 방향은 일정하다.
[이 게시물은 GTM님에 의해 2026-03-09 11:23:26 소액특허나눔에서 이동 됨]
[이 게시물은 GTM님에 의해 2026-03-09 11:23:26 소액특허나눔에서 이동 됨]
관련링크
댓글목록
등록된 댓글이 없습니다.

