광 아이솔레이터
페이지 정보

본문
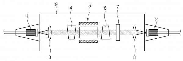
본 발명에 따른 광 아이솔레이터에는, 광섬유 입력단를 통하여 정방향으로 입사하는 동작광을 평행광으로 변환하는 입력측 렌즈; 상기 입력측 렌즈의 우측에 위치한 입력측 편광자; 상기 평행광으로 만들어진 상기 동작광의 편광파면을 회전시키는 패러데이 회전자; 상기 패러데이 회전자의 출력측에 제공되는 출력측 편광자; 상기 출력측 편광자를 통과하는 상기 동작광을 통과시키는 출력측 렌즈; 유출광을 차단하고 상기 동작광을 통과시키는 광학필터; 상기 동작광이 출사하는 광섬유 출력단; 및 상기 각 부품을 내부에 두고, 기기의 외부와 내부를 차폐하는 하우징이 포함된다. 본 발명에 따르면, 광섬유 레이저의 보호, 특히 광 아이솔레이터, 펌프광원, 및 씨앗광원 등을 확실하게 보호할 수 있고, 별도의 부품을 보호할 필요없이 기존에 사용되는 광 아이솔레이터에 부분품을 추가하여 광섬유 레이저를 보호할 수 있기 때문에 광섬유 레이저 전체 시스템을 저렴하게 구성할 수 있다. 또한, 이미 사용하고 있는 광섬유 레이저의 경우에도 광 아이솔레이터를 교체하기만 하는 것으로 유출광의 문제를 해소할 수 있으므로 산업상의 적용가능성이 높은 장점이 있다.
관련링크
댓글목록
등록된 댓글이 없습니다.

