소액특허나눔(PL500)

광섬유를 이용한 전압센서

페이지 정보

profile_image
작성자 GTM 댓글 0건 조회 9회 작성일 26.03.09

본문

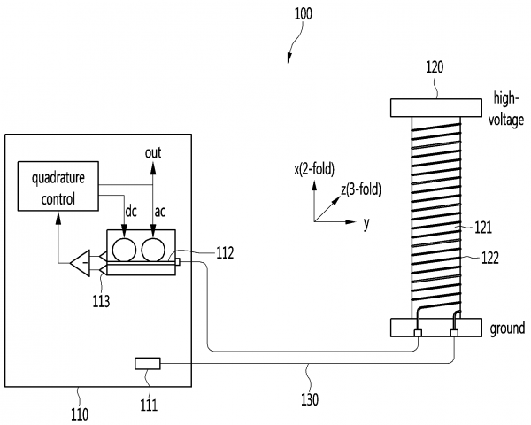
이중 코어 광섬유에 입사된 빛은 두 개의 코어로 각각 커플링 되어 광섬유를 통과하면서 서로 다른 광경로 차를 겪게 되고, 이와 동시에 광축 x 및 y 에 따른 편광방향에 따라 각각 다른 굴절률 차이를 느끼게 되고 따라서 편광 방향에 따라 간섭무늬 특성 (세기, 주기, 전압인가에 따른 특성변화)이 달라진다. 이어서 이중 코어 광섬유에서 출사된 빛은 광분기소자(편광빔분리기)에 의하여 분리되어 각각 제1, 2 광신호 분석기로 도달함, 최종적으로 광신호 분석기에 도달한 광신호의 광특성 즉 간섭무늬의 스펙트럼이나 광출력의 변화를 측정하고 이로부터 센서부에 인가된 전압을 계측할 수 있다.

댓글목록

등록된 댓글이 없습니다.