스트레처블 생체삽입기기
페이지 정보

본문
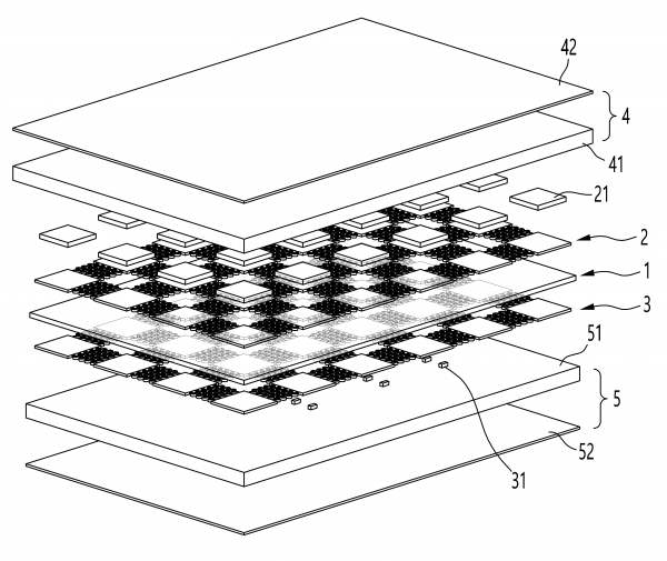
본 발명에 따른 스트레처블 생체삽입기기에는, 스트레처블(stretchable)한 특성을 가지는 중립기판; 상기 중립기판의 상측에 놓이고, 제 1 전자기기가 놓이는 외부기판; 상기 중립기판의 하측에 놓이고, 제 2 전자기기가 놓이는 내부기판; 상기 외부기판을 보호하는 캡슐층; 및 상기 내부기판을 보호하는 다른 캡슐층을 포함한다.
관련링크
댓글목록
등록된 댓글이 없습니다.

