유전자와 화합물과 질병의 관련문헌 추출시스템
페이지 정보

본문
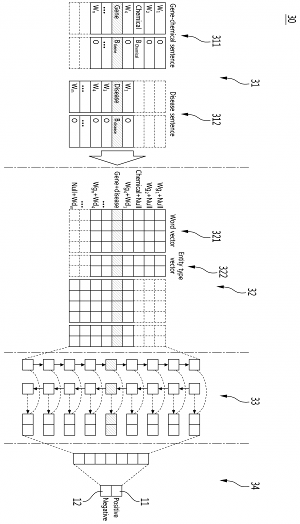
본 발명에 따른 유전자와 화합물과 질병의 관련문헌 추출시스템에는, 사용자 쿼리가 자연어로 입력되는 입력부; 입력된 자연어를 개체로 인식하는 개체명 인식부; 상기 개체명 인식부에서 인식된 개체를 이용하여, 유전자와 화합물과 질병과 관련되는 문헌을 제공하는 인공지능 학습모델; 상기 인공지능학습모델에서 추출된 문헌을 후처리하는 후처리부; 및 상기 후처리부에서 처리되어 걸러진 문헌이 출력되는 출력부가 포함된다.
관련링크
댓글목록
등록된 댓글이 없습니다.

