소액특허나눔(PL500)

Total 50건 4 페이지

    소액특허나눔 목록

  • 연속 파장 레이저 파장 변조를 이용한 현미경 시스템

    연속 파장 레이저 파장 변조를 이용한 현미경 시스템을 개시한다. 본 실시예의 일 측면에 의하면, 기 설정된 파장대역 내에서 하나의 파장을 갖는 레이저를 조사하는 광원부와 상기 광원부로부터 조사된 레이저를 인가받아 서로 다른 위상값을 갖는 패턴을 생성하고, 생성된 패턴을 파장에 따라 이격시켜 샘플로 조사하는 광학계와 상기 광학계를 거쳐 샘플로부터 반사된 광을 수광하는 수광부와 상기 광원부, 광학계 및 수광부의 동작을 제어하며, 상기 수광부가 수…

    GTM 47 08-04
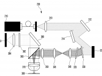
  • 다파장 레이저 파장 변조를 이용한 현미경 시스템

    다파장 레이저 파장 변조를 이용한 현미경 시스템을 개시한다. 본 실시예의 일 측면에 의하면, 복수의 파장의 레이저를 조사하는 광원부와 상기 광원부로부터 조사된 레이저를 인가받아 서로 다른 위상값을 갖는 패턴을 생성하고, 생성된 패턴을 파장에 따라 이격시켜 샘플로 조사하는 광학계와 상기 광학계를 거쳐 샘플로부터 반사된 광을 수광하는 수광부와 상기 광원부, 광학계 및 수광부의 동작을 제어하며, 상기 수광부가 수광한 광의 간섭 패턴을 분석하여 샘플…

    GTM 40 08-04
  • 카메라 포즈 추정 방법

    카메라 포즈 추정 방법이 개시된다. 본 발명에 따른 카메라 추정 방법은, 원본 이미지로터 텍스쳐를 다양하게 변경한 복수의 훈련 이미지를 이용하여 시각적 측위 네트워크를 트레이닝하는 단계, 쿼리 이미지를 획득하는 단계, 및, 상기 쿼리 이미지를 상기 시각적 측위 네트워크에 제공하여 카메라의 포즈를 추정하는 단계를 포함한다.

    GTM 41 08-04
  • 네트워크 상의 허니팟 노드 배치방법

    본 발명에 따른 네트워크 상의 허니팟 노드 배치방법에는, 네트워크에 포함되는 부모노드와 자식노드의 연결상태를 반영하여, 상기 부모노드를 통한 상기 자식노드의 공격이 성공할 연결공격성공확률을 획득하는 것; 상기 연결공격성공확률을 정보로써, 베이지안 공격 그래프 상에서 제 1 추론 알고리즘을 이용하여, 각 노드를 타겟으로 하는 공격이 성공할 타겟공격성공확률을 획득하는 것; 및 상기 타겟공격성공확률이 큰 노드를 취약노드로 설정하여 허니팟 노드를 배치…

    GTM 35 08-04
  • 무선 소프트웨어 정의 네트워크의 제어평면보호방법

    본 발명에 따른 무선 소프트웨어 정의 네트워크의 제어평면보호방법에는, 무선 인밴드 에스디엔에 놓이는 링크의 드랍률 정보를 수집하는 것; 수집된 정보 중에서 제어평면 패킷 드랍률을 평가하여, 어느 링크의 상기 제어평면 패킷 드랍률이 높으면, 상기 어느 링크와 관련되는 노드의 데이터평면 트래픽을 감소시키고, 어느 링크의 상기 제어평면 패킷 드랍률이 낮으면, 상기 어느 링크와 관련되는 노드의 데이트평면 트래픽을 증가시키는 것이 포함된다.

    GTM 36 08-04

검색