소액특허나눔(PL500)

광신호를 이용한 탄성체의 성질 측정 장치 및 방법

페이지 정보

profile_image
작성자 GTM 댓글 0건 조회 11회 작성일 26.03.09

본문

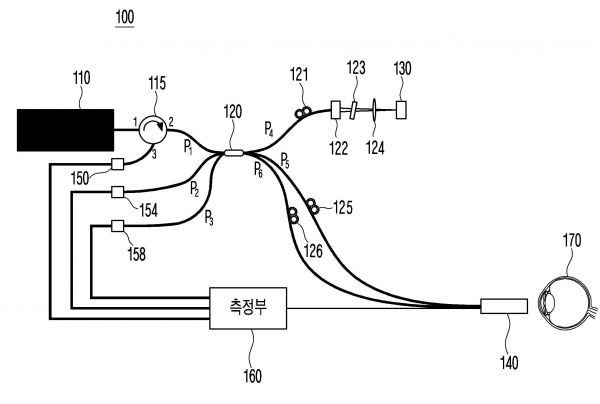
검사광을 이용한 탄성체의 성질 측정 장치 및 방법을 개시한다.
본 실시예의 일 측면에 의하면, 비접촉하여 탄성체의 성질을 측정하는 장치에 있어서, 상기 탄성체로 출력할 검사광을 생성하는 광원과 상기 광원으로부터 출력된 검사광을 반사시키는 미러와 상기 광원으로부터 출력된 검사광을 상기 탄성체로 조사하고, 상기 탄성체의 진동으로 인한 광신호를 수신하는 프로브와 상기 광원으로부터 출력된 검사광을 상기 미러 및 프로브로 분기시키고, 상기 미러에서 반사된 광신호와 상기 프로브가 수신한 검사광을 간섭시켜 분기시키는 커플러와 상기 커플러로부터 분기된 간섭신호를 각각 센싱하는 복수의 센싱부 및 상기 탄성체가 진동하도록 하는 음향파를 상기 프로브로 전달하여 상기 프로브가 기 설정된 파장대역의 신호를 상기 탄성체로 조사하도록 하며, 각 센싱부가 센싱한 센싱값들로부터 상기 탄성체의 진동 전파속도를 측정하는 측정부를 포함하는 것을 특징으로 하는 탄성체 성질 측정장치를 제공한다.

댓글목록

등록된 댓글이 없습니다.