실리콘 오일을 이용한 광음향 현미경 시스템
페이지 정보

본문
실리콘 오일을 이용한 광음향 현미경 시스템을 개시한다.
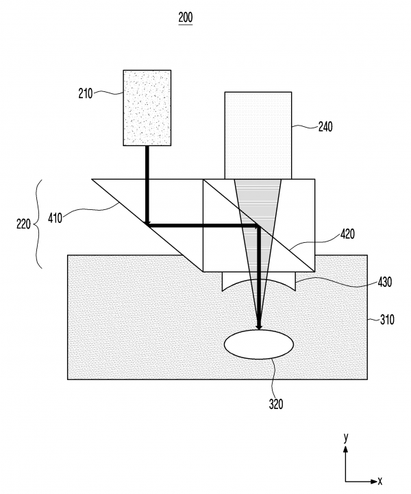
본 실시예의 일 측면에 의하면, 음향 임피던스 매칭물질이 도포된 샘플로 근적외선 파장대역의 레이저를 조사하여 샘플의 광음향 영상을 생성하는 광음향 현미경 시스템에 있어서, 근적외선 파장대역의 레이저를 조사하는 광원부와 상기 샘플로부터 방출되는 광음향 신호를 수신하여 전기신호로 변환하는 초음파 트랜스듀서와 상기 광원부에서 조사된 레이저를 상기 샘플로 전달하며, 상기 샘플로부터 방출되는 광음향 신호를 상기 초음파 트랜스듀서로 전달하는 광학계 및 상기 광원부 및 상기 초음파 트랜스듀서의 동작을 제어하며, 상기 초음파 트랜스듀서가 변환한 전기신호를 분석하여 상기 샘플의 광음향 영상을 생성하는 제어부를 포함하는 것을 특징으로 하는 광음향 현미경 시스템을 제공한다.
본 실시예의 일 측면에 의하면, 음향 임피던스 매칭물질이 도포된 샘플로 근적외선 파장대역의 레이저를 조사하여 샘플의 광음향 영상을 생성하는 광음향 현미경 시스템에 있어서, 근적외선 파장대역의 레이저를 조사하는 광원부와 상기 샘플로부터 방출되는 광음향 신호를 수신하여 전기신호로 변환하는 초음파 트랜스듀서와 상기 광원부에서 조사된 레이저를 상기 샘플로 전달하며, 상기 샘플로부터 방출되는 광음향 신호를 상기 초음파 트랜스듀서로 전달하는 광학계 및 상기 광원부 및 상기 초음파 트랜스듀서의 동작을 제어하며, 상기 초음파 트랜스듀서가 변환한 전기신호를 분석하여 상기 샘플의 광음향 영상을 생성하는 제어부를 포함하는 것을 특징으로 하는 광음향 현미경 시스템을 제공한다.
관련링크
댓글목록
등록된 댓글이 없습니다.

