침전물형 미생물 연료전지
페이지 정보

본문
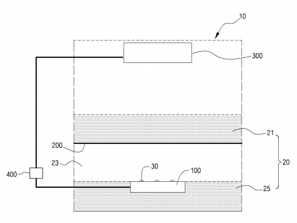
침전물형 미생물 연료전지가 제공된다. 상세하게는, 오염수역의 침전물 내에 위치한 산화 전극부, 수중 내 수표면에 인접하여 위치한 환원 전극부, 및 상기 침전물 내에 배치되되, 상기 산화 전극부 상부에 상기 산화 전극부와 이격하여 위치한 침전물 분리부를 포함하며, 상기 침전물 분리부에 의해 형성된 이격공간에 상기 산화 전극부의 표면의 적어도 일면이 노출되는 것을 특징으로 하는 침전물형 미생물 연료 전지를 제공할 수 있다. 이에, 본 발명은 침전물 분리부를 배치하여 산화 전극부를 액체상의 물질로 이루어진 이격공간에 노출함으로써, 상기 산화 전극부로의 유기물 전달 속도를 증가시켜 전지의 출력전력을 향상시킬 수 있다. 또한, 액체상의 물질로 이루어진 이격공간에 의해 산화 전극부로 산소가 투과되는 것을 최소화시킬 수 있어, 산화 전극부의 성능을 유지시킬 수 있다.
관련링크
-
이전글
무전해질막 미생물 연료전지, 이의 직렬 스택, 및 병렬 연결체
26.03.09 다음글직렬 연결 시 발생하는 전압 역전 현상을 방지할 수 있는 보조 전극/보조 전류 활용 미생물 연료전지 시스템 개발
26.03.09댓글목록
등록된 댓글이 없습니다.

