비 휘발성 메모리
페이지 정보

본문
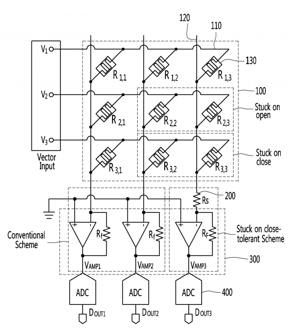
본 발명의 일 실시 예에 따른 비 휘발성 메모리의 동작 방법은 오프셋 맵을 작성하는 단계, 제 1 열부터 저항값을 차례로 읽어 결함을 갖는 저항성 메모리 소자의 위치를 판단하는 단계, 상기 판단된 위치에 기초하여, 결함을 갖지 않는 저항성 메모리 소자에 쓰기 동작을 수행하는 단계, 쓰기가 완료된 저항성 메모리 소자 값을 1열부터 차례로 읽는 단계 및 읽은 저항 값의 RMS 에러를 계산하고 이를 검증하는 단계를 포함한다.
관련링크
댓글목록
등록된 댓글이 없습니다.

