소액특허나눔(PL500)

민감도가 향상된 변형감지센서

페이지 정보

profile_image
작성자 GTM 댓글 0건 조회 34회 작성일 25.08.04

본문

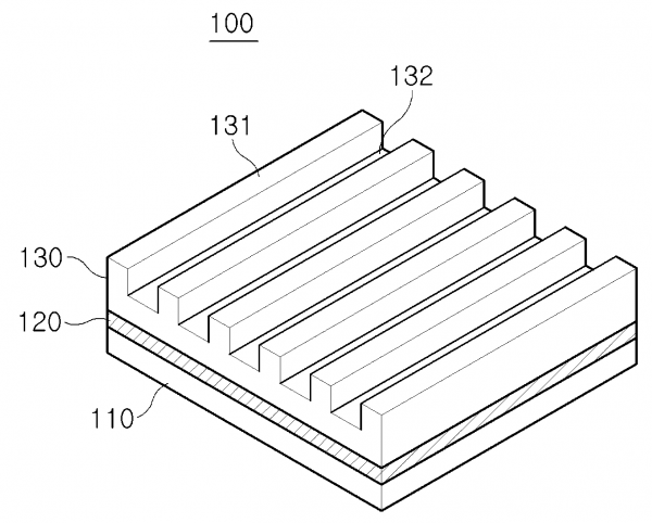
본 발명에 의한 변형감지센서는 변형에 의한 저항 또는 정전용량의 변화를 감지하여 측정대상의 변형정도를 검출할 수 있도록 몸체 내부에 전도성 물질이 포함된 변형감지센서로서, 상기 몸체는 일면에 요철이 형성되어 있는 탄성층과 상기 탄성층의 타면에 전도성 물질에 의해 형성되는 도전층을 포함하며, 상기 몸체가 상기 요철이 형성되어 있는 면의 측면방향으로 변형할 때, 변형 전, 후의 상기 도전층의 저항변화 또는 정전용량의 변화를 측정하여 측정대상의 변형정도를 검출한다.

댓글목록

등록된 댓글이 없습니다.